整车环境试验舱,可以叫整车voc环境舱或者汽车整车环境试验舱。该试验舱的目的就是将汽车整车置于环境舱内,根据需要调节舱内的温度、湿度、关照度、背景等环境条件;在汽车驾驶舱内采样或进行气味评估。

为了大家的身体健康,我们平时开的轿车等都需要做这些测试。那做这些项目的意义又是什么呢?
很显然,和这个意义是非常重大的,因为voc等有害气体会严重影响人们的身体健康。整车环境试验舱有如下意义:
1.避免人们过多的voc气体吸入,可以保障人们的身体健康
2.保证厂家能满足国家的生产标准
3.确保汽车内饰的质量达到要求
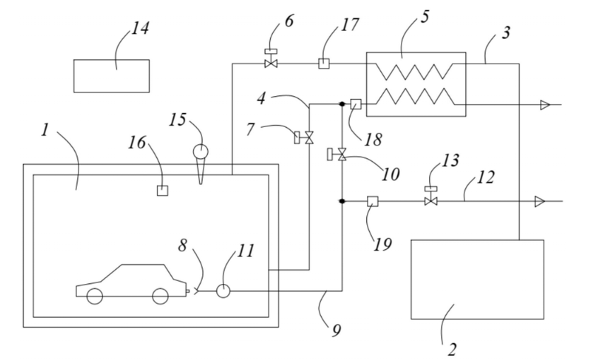
最后,整车环境舱的结构图是怎样的呢?在这里,为了方便大家阅读,我把结构图简化了,如下图:

整车环境试验舱结构图解析:
1、整车试验舱;
2、新风设备;
3、第一管道;
4、第二管道;
5、换热器;
6、第一阀门;
7、第二阀门;
8、收集器;
9、第三管道;
10、第三阀门;
11、风机;
12、第四管道;
13、第四阀门;
14、、控制中心;
15、压力传感器;
16、舱内温度传感器;
17、第一温度传感器;
18、第二温度传感器;
19、第三温度传感器
看到这里,相信大家对整车环境试验舱的目的和意义以及结构都有深入的了解,欢迎各位新老客户随时来电咨询,您一个电话,我们一定给到您想要的满意答复。欢迎随时咨询:153 2293 2685。








