近日,公司收到客户的恒温恒湿试验箱改造要求,随后,公司相关技术人员根据用户的要求,提出了相应的改造方案,下面是改造方案以及相关图片。
改造要求:
1000L改双系统-70℃,40℃~-20℃升降温速度:3℃/min
毛细管:
一级:高3.0*1800,湿2.5*1800,旁2.2*1600
二级:低3.0*1300*2条,旁2.2*1600,泄压4.0*300
改造方案:
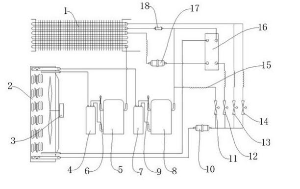
1.本次改造方案由压缩机一、压缩机二、冷凝器、毛细管、蒸发器、电磁阀一、电磁阀二、电磁阀三和电磁阀四组成,用铜管将它们连接成一个密封系统,制冷剂使用为氟利昂R404A和氟利昂R23,安全性高。
2.制冷剂液体在蒸发器1内以低温低压气液形态与被冷却对象发生热交换,吸收被冷却对象的热量后气化成低压蒸汽,产生的低压蒸汽分别被压缩机一和压缩机二吸入,经压缩机一5和压缩机二8压缩后以高压排出。
3.压缩机一和压缩机二排出的高压气态制冷剂进入冷凝器2,被常温的冷却水或空气冷却,凝结成高压液体,高压液体流经过毛细管时节流,节流后变成低温低压的气液两相混合物,进入蒸发器。
4.其中的液态制冷剂在蒸发器中吸热蒸发,进行制冷,产生的低压蒸汽再次被压缩机一和压缩机二吸入,压缩后排出,如此周而复始,不断循环,同时电磁阀一、电磁阀二、电磁阀三和电磁阀四可以分别使恒温恒湿试验箱具有旁路、低温、高湿和低湿四中工作模式,从而提高恒温恒湿试验箱的使用功能效果。
改造图片:










