一、产品简介:
油烟机气味降低度试验舱是根据 《GB/T 17713-2022 吸油烟机及其他烹饪烟气吸排装置》标准中附录 D“气味降低度试验方法”的要求,设计研制一套试验装置来完成这一试验,并达到试验要求。
二、满足标准:
GB/T 17713-2022 吸油烟机及其他烹饪烟气吸排装置
三、产品要求:
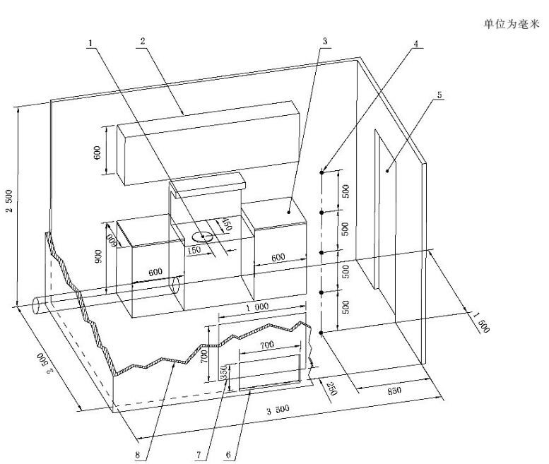
1.实验室的尺寸:长、宽、高一般为3.5m、2.5m、2.5m,体积为(22±2)m³。实验室的墙壁应该不受丁酮(MEK)的影响。
2.模拟厨房的试验室气密性要求:在试验室测得高气味浓度后,1 小时后再测得的气味 浓度,其下降值不大于 5%。
3.加热器的功率:2KW/220V。 控温精度:170±10℃ 热电偶精度:±℃。
4.每次滴液:300g±1g 的室温蒸馏水和 12g±0.1g 丁酮的混合液; 每次滴液的时间:30min±15s。
5.被测机的形式:外排式和循环式。

四、系统组成:
1.滴液系统:滴液系统中滴头与锅底的距离为(225±25)mm。在国标测试过程中,每29min50s~30min内将290mL蒸馏水匀速滴完。
2.温控系统:该装置中应有4根热电偶,其中两根测试油温,两根测试锅底温度,测量精度为±0.5℃。在国标测试过程中,锅底温度应始终保持在290℃±10℃;在欧标测试过程中,锅底温度应始终保持在250℃±5℃。
3.独立过滤器:独立过滤器的气溶胶悬浮物绝对过滤效率应不低于99.995%。
4.油脂收集器:在锅上面增加漏斗状油脂收集装置,形成圆形喇叭口。





